Produktinformationen „Oranier Feuerraumauskleidung | Vermiculitesatz | Polar 6 Serie 2 ab 06/2007 und Pori 7 | 10-teilig“
Oranier Feuerraumauskleidung | Vermiculitesatz | Polar 6 Serie 2 ab 06/2007 und Pori 7 | 10-teilig Produktdetails:
Die Feuerraumauskleidung ist passend für die Oranier Polar 6 Modelle der Serie 2 ab Baujahr 06/2007 und den Pori Typ 4671.
Diese Modelle verfügen über eine Zweipunktverriegelung.
Bitte beachten Sie, dass es zwei verschiedene Ausführungen an Vermiculitesätzen für den Polar 6 gibt, ausschlagebend für die Wahl des richtigen Satzes ist das Baujahr Ihres Kaminofens.
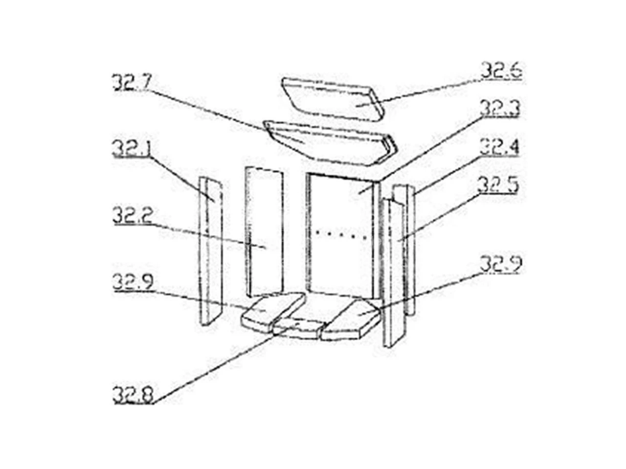
Der 10-teilige Satz Brennraumauskleidung beinhaltet:
– Bodenstein vorne
– Bodenstein rechts, Bodenstein links
– Seitenstein links vorne, Seitenstein links hinten
– Seitenstein rechts vorne, Seitenstein rechts hinten
– Zugumlenkung unten und oben
– Rückwandstein gelocht
Vermiculit wird auch gerne Schamott genannt ist aber deutlich leichter.
-
Fragen zum Artikel?
-
Weitere Artikel von Oranier













Rezensionen
Es gibt noch keine Rezensionen.